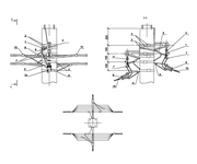
Опора ПП34 ж/б промежуточная переходная двухцепная с ответвлением в одну сторону СИП4-4 IEK
Бесплатная доставка по Екатеринбургу и до ТК при заказе от 3000 ₽.
Доставка по России
- Производитель: IEK ( ИЭК )
- Код товара: ASIP-BET-OPR-152-12-04
- Артикул: ASIP-BET-OPR-152-12-04
- Ом код: 402-150
Преимущества
- Соответствие требованиям стандарта СТО ПАО РОССЕТИ.
- Сотрудничество с ведущими российскими энергетическими компаниями.
- Возможность внесения изменений в любое решение силами технических специалистов ГК IEK.
- Короткие сроки поставки компонентов решения обеспечиваются наличием широкой складской и партнёрской сети.
Документация
Схемы подключения
Дополнительные изображения
Модели для проектировщиков
Заказать товар:
Через форму заказа на сайте
По телефону:
Отправить на заявку на электронную почту:
Мы осуществляем отправку по РФ - СДЭК, Деловые линии, КИТ, Собственным транспортом (2 и 5 тн)
Бесплатная доставка по Екатеринбургу при сумме от 3000 руб - карта в разделе оплата и доставка
